QR二维码的攻击方法与防御
导读:今天收到了“黑客讲坛”的第二篇投稿文章,是来自blackeagle的一篇关于QR码安全的文章。
这篇文章非常的专业,而专业往往意味着枯燥。其实这才是真正的黑客技术,与大众想象的很不一样。真正的黑客们对技术的追求沉淀于无数个枯燥的日与夜。如何成为一个黑客,我认为需要两点,一是对技术原理的最细微之处也了如指掌,二是具有不被拘束的天马行空的思路。今天这篇文章展示的就是黑客们对技术细节的探索。
blackeagle在发完此文后,曾被人恶意盗贴,篡改了作者的所有信息后,发布在另外一个网站上。blackeagle为此非常气愤,与对方理论,对方只同意删帖,但未作出道歉。
在互联网上,知识产权确实很难保证。今天青龙老贼的一篇文章被某家媒体盗贴,抹去了作者信息,老贼非常气愤的在朋友圈里贴图,我们几个朋友都建议他去举报。我前些时写的《互联网怎么赚钱》(回复10查看),也被一家网站盗贴了,篡改了我的版权信息。有朋友发现后提醒我,我直接通过网站上提供的联系方式,联系了这家网站的运营人员,于是文章的版权信息终于纠正了回来。
遇到这种事情的时候,虽然很无奈,但我认为一定不能姑息,应该尽自己最大的可能去投诉,去较真。这是对自己劳动成果的尊重,也能促进一点点互联网对知识产权的重视。维权的手段一般是找到联系方式要求对方修改,如果沟通不顺畅,也可以通过微博@官方账号寻求解决的途径,能做多少是多少吧。
最后,虽然大多数读者可能没有耐心看完这篇文章,但为了鼓励“黑客讲坛”的作者们,点击“阅读原文”可以为作者进行小额赞助。特别是做技术的同学们,都是吃技术饭的,为了让技术更有价值,自己人更应该支持自己人了~ :D
------ QR二维码的攻击方法与防御 ------
作者:blackeagle
QR二维码(Quick Response Code)是由日本丰田子公司Denso Wave于1994年发明并开始使用的一种矩阵二维码符号。与条形码相比,它具有明显的优势:条形码最多只能存储20位,但QR码可以存储7089个字符;携带相同的信息量,QR只需要条形码1/10的空间。
QR码最初用于在汽车制造业中追踪部件,之后被广泛应用到其它行业尤其是电信行业。随着智能手机的普及,QR码成为了一个快速、高效的URL连接器,被称为移动互联网的“入口”。用户通过扫描QR码,能够快速链接到指定网站,并进行软件下载、新闻阅览、广告推广服务等。另外,QR码也逐渐在广内超市中使用,通过扫描QR码可查询到相关产品的产地介绍、营业执照、自产自销证明等信息。QR码不仅信息容量大、可靠性高、成本低,还可表示汉字及图像等多种文字信息、其保密防伪性强而且使用非常方便。因此,很快就在日韩地区得到迅速普及,发展到后来,欧美国家也开始大量使用。
但是,现阶段QR码的使用和推广存在一个问题,即现有的QR码不能有效地抵抗二维码伪造和篡改攻击,这是一个目前亟待解决的问题。
1、QR码简介
1.1 QR码的结构
每个QR码由寻景图案、校准图案、定位图案等功能图案和编码区域构成,其中功能图形不用于数据编码。图1为QR码符号的结构,图2为笔者个人的QR二维码结构图。
图一
图二
生成器页面
扫描结果
PS:笔者这里推荐一个个人认为不错的QR二维码在线生成网站http://goqr.me
QR码符号共有40种规格,分别为版本1、版本2、…、版本40。版本1 的规格为21模块×21模块,版本2为25模块×25模块。以此类推,每一个版本符号比前一个版本每边增加4个模块,直到版本40,规格为177模块×177模块。以下图分别为版本1,2,6,7,14,21和40的符号结构。
download:快速响应矩阵码
http://pan.baidu.com/share/link?shareid=187771801&uk=3726153663
寻景图案(Finder Pattern):寻景图案分别位于QR符号的左上角、右上角、左下角,如图5所示。每个寻景图案是由3个黑白相间的正方形图案嵌套组成。其用途是帮助QR编解码软件定位QR码,在寻景图案对齐之后,就可确认码的位置、尺寸和角度。
图5:笔者QR二维码结构分析
校准图案(Alignment Pattern):校准图案首先识别校准图案的中心坐标,然后再纠正QR码的非线性扭曲。为了达到这个目的,在校准图案中加了黑色的隔离单元,使其更加易于检测到校准图案的中心坐标。(大家在扫微信二维码的时候可以注意观察一下)
定位图案(Timing Pattern):定位图案在垂直和水平方向进行对齐,其用于识别QR码中的的每个单元的中心坐标,使得黑色和白色图案分别对应。在二维码出现扭曲时,这个定位图案用于纠正单元中的中心坐标。
静态区域(Quiet Zone):为使QR解码器更易读取数据,QR码预留了空白的页边,称为静态区域。静态区域具有四个或者更多的单元。
数据域(Data Area):有效数据被存储在QR的数据区。在编码中,数据被编码成二进制的“1”和“0”,并分别代表白色和黑色模块。数据区将Reed-Solomon码与存储数据合并,并且具有纠错功能。
1.2 QR码主要编解码过程
为了更好地阐述QR码的攻击方式,本文将主要论述QR码的编码,解码则为其逆过程。
步骤1:分析原始数据,确定数据类型,根据类型选择编码效率最高的编码模式;
步骤2:根据步骤1得到的编码模式,将数据字节转换为二进制位流;
步骤3:采用纠错码技术生成相应的纠错码(例如,BCH纠错码),如果数据较大,首先对数据进行分块,然后生成每个数据块的纠错码,按照分块顺序合并作为最终的纠错码;
步骤4:组合数据码字和纠错码字,构成最终的数据码字。
步骤5:根据需求添加相应的版本、格式、定位等结构,并根据定义好的规则在矩阵中布置模块;
步骤6:使用不同的掩模图形对编码区进行掩模处理(功能模块不进行掩模),评价掩模结果,选择评估结果最好的进行掩模。
2、攻击QR码的方式
2011年9月,卡巴斯基实验室检测到了全球第一起恶意的QR码攻击。其具体过程是:用户扫面包含有网页地址链接的QR码,当用户登录此网站后,手机在用户不知情的情况下自动下载恶意软件。2012年起,利用QR码对手机恶意扣费的新闻在国内被报道。目前常用的攻击方式还是仅限于利用QR码指向恶意网站扣费或者下载病毒软件。但是鉴于对QR码的特性以及目前缺乏统一的管理制度,攻击QR码的方式将会呈现多样化。
下面首先给出在实际应用中篡改QR码的一种方法:假设攻击者利用随身携带的黑笔,根据一下方法,涂改原始QR码上白色模块部分。用户在扫描QR码后,解码器会自动纠错成不同的URL地址,实现QR码篡改。其次提出具体应用场景下潜在的攻击方式,最后针对具体攻击提出抵御方法。
2.1一种篡改QR码信息的具体方法
(1)扫描原始QR码(Q0)解码得到相应的M0。我们架设M0是指向网站的URL;
(2)编写与M0相近的URL地址信息Mi,i=1,2,……n,Mi是n个指向钓鱼网站的URL;
(3)编码与Mi对应的 QR码Qi,i=1,2,……n。新的QR码要使用与原始QR码相同的版本和掩模方式。
(4)计算QR码Qi与Q0在相同位置但不同颜色的模块个数Di,Di=Q0△Qi,i=1,2……n;
(5)计算Qi中为黑色模块而在Q0中相同位置为白色模块的比例ri;
(6)根据ri比例降序排列,排除需要修改的黑色模块比白色模块高的QR码;
(7)从第一个QR码Qi开始,比较Q0,Qi不同颜色的模块,对照Qi,将Q0白色部分涂改成黑色,当b+1次涂改后(b为BCH编码所能纠错的最大值)开始核对是否可以正常解码,且解码信息不同于M0。重复操作找到Q’i后解码成Mi≠M0。
在(2)中,我们伪造相近的URL地址是为了尽可能地混淆用户,将钓鱼网址误认为是合法网址。另外,还需保证相近的URL地址未被注册使用。
在(4)和(5)中,通过异或函数来计算对称差分,即在计算过程中1表示黑色模块,0表示白色模块。RX表示需要从白色转变成黑色的元素。
2.2具体应用场景下的攻击方式
根据QR软件的特性,我们将不同场景的攻击类型归纳概括为基于人机交互的攻击和自动化攻击。
2.2.1基于人机交互的攻击
(1)网络钓鱼
网站地址(URL)被编成QR二维码,有些网站将网站登录的URL存储在QR码上。攻击者用伪造的QR码替换合法的QR码,篡改登录网站的URL信息,将用户导向一个假冒的登录页面。在这种情况下,用户扫描QR码后,访问了伪造的登陆页面,将个人信息泄露给了攻击者。
比如我将某钓鱼程序挂在博客上,然后生成一个QR二维码,然后贴在网上,并写一些诱惑性的语言,实行钓鱼。
(2)传播恶意软件
攻击者将指向自动下载恶意软件网址的命令编码到QR码中。在这种情况下,攻击者可以将病毒、木马、蠕虫或者间谍软件植入到用户系统中。这些QR码指向了自动下载木马程序的网站,木马通过发送短信订阅收费的增至栏目。
(3)隐私信息泄漏
某些信息只希望被特定的接收对象接收,而不是对所有人都可见。直接使用QR码会造成信息的泄漏,例如火车票上的二维码会泄漏身份信息。
如图所示,身份证号是2311211995****0625,在我查查上直接可以查到身份证号为231121199503280625。以及票号和发车时间,最后通过网络查询个人信息:
随即笔者问朋友要了一张高铁票(2013年的)用我查查软件扫描,没有结果。
这里还涉及到一个问题,因为扫的都是用过的票,考虑到时间戳的问题,如果是新票,会有什么结果呢?还待有机会测试。
(4)中间人攻击
目前在国内,将QR码应用在电子票务中已逐渐发展成趋势。例如,用户通过网上支付购买火车票,服务器根据用户提供信息发放QR码到用户手机。虽然目前提出了时间戳技术,保证票据一次性使用,但是并不能抵抗中间人攻击,具体流程见下图所示:
假设用户购买电子票据所需信息M发送给服务器S,但是消息被攻击者A拦截下来,攻击者将发送信息M拷贝并转发给S,S处理后将有效的QR码信息Q回复给A,A获得消息后将错误的Q’信息发送给G。而用户和服务器两端则认为在对方直接通话,但事实上整个过程已经攻击者控制。特别是在用户随意使用未知来源的无线接入点时,这种攻击更易实现。
2.2.2自动化攻击
将QR码和常见的Web攻击结合到一起,可能形成自动攻击方式。
(1)SQL注入
试想这样的应用环境,QR码解码器是链接到数据库中,并且QR码是用于执行查询后端数据库。在这种情形下,如果QR码包含了像“1”OR“1=1”等查询信息,读取器在没有核对此信息是否合法授权时便执行查询命令,导致信息泄漏给非法授权的攻击者。尽管QR码目前为止没有被用于数据库查询,但是如果此应用方式在未来被实现的话,针对这种情形的QR攻击就很可能存在。现在,谷歌公司正在进行利用QR码登录到谷歌账户的实验,用户通过扫描QR码导向一个谷歌账户登录页面。腾讯aq.qq.com里已经用到QR二维码扫描技术,即“安全扫一扫”功能。
(2)基于浏览器开发和跨站脚本攻击
QR码可能用于执行基于网络和跨站脚本攻击。我们知道,QR码可以包含URL信息。假设编码URL包含了警告信息,这个信息包含了对网络浏览器的开发。在此情形下,当对方访问了URL并解码后,系统会执行或者破坏浏览器和设备的警告信息。
(3)命令注入
假设QR码被用做命令行参数。攻击者将QR码篡改成在系统中可以任意执行的命令。在这种情况下,攻击者可以安装隐匿程序、间谍软件,发动拒绝服务攻击。
3、防御方式
本节将抵御QR码攻击的方法分为两大类:对现有的QR码编解码的改进和引入第三方。
3.1 QR码编解码方式的改进
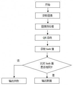
针对QR码伪造的问题,可使用常用的加密方法和消息鉴别码的方法,在原有的二维码编码解码时加入加密和解密的环节。以非对称加密为例,假设原始信息为M0,发行方的私钥为Kr,公钥为KU,则M’=EKr(M)。将M’信息使用QR编码器编码,将生成后的二维码和公钥刊登在印刷品上,用户扫描QR码时输入公钥KU,若能解码得到正确可读的信息,则说明扫描的QR码来源可靠。非对称加密方式不仅能够抵抗上树应用场景的攻击,还能够抵抗大部分针对QR码信息的篡改行为。另一种简化方式是在QR码中加入加密后的hash值模块,解码时,解码器解密hash值并比对是否与原QR码信息匹配,如果7所示。而抵挡QR码的泄漏可采用对称加密的方法,加密后的QR码只有密钥持有人才能正常解码,特对对象可以正常使用QR码,比如火车票上的二维码。
3.2引入第三方统一管理
QR码使用范围广泛,但是不同用途的QR码缺乏对应的编码标准,也缺少第三方的管理和认证,导致了QR码市场的混乱。引入第三方管理和认证,能够有效拦截QR码携带的恶意网址和虚假信息;提供认证机制,可以增加其来源的可靠性。本节提出了在第三方存在的情况下有效避免QR码链接到恶意网址的方法(如图13),具体步骤如下:
(1)用户手机读取QR码信息链接第三方服务器;
(2)第三方服务器以QR码中的码号信息索引查询数据库;
(3)数据库将查询到的网站返回到第三方解析服务器;
(4)第三方服务器返回用户商家链接地址;
(5)用户链接商家地址。
4、结束语
QR码作为目前被广泛使用的二维码,它为用户带来便捷的同时,也成为了恶意软件、网络钓鱼等攻击的携带者和传播者。为此,了解QR码编码方式,分析其潜在攻击方法并提出低于方案具有重要的意义。本文介绍了QR的编码结构和编码过程,阐述了具体篡改QR码的操作步骤,论述了不同的QR码应用场景下的潜在的攻击方式,提出了针对编码解码器的改进方案和引入第三方管理这两类方式来抵抗QR码的攻击。
== 道哥的黑板报:黑客讲坛 ==
本文作者:blackeagle
blackeagle来自安全组织HUC(cnhonker.com),他的个人博客是 www.blackeagle.name
建议继续学习:
- QR码分析 (阅读:17444)
- 微信扫码登录网页实现原理 (阅读:16686)
- 二维码的生成细节和原理 (阅读:13387)
- 微信二维码登录的原理 (阅读:6237)
- 什么是二维码?有什么用? (阅读:5357)
- 二维码的未来 (阅读:3024)
扫一扫订阅我的微信号:IT技术博客大学习
- 作者:axis 来源: 道哥的黑板报
- 标签: QR 二维码
- 发布时间:2013-07-10 13:55:53
-
[917] WordPress插件开发 -- 在插件使用 -
[135] 解决 nginx 反向代理网页首尾出现神秘字 -
[54] 整理了一份招PHP高级工程师的面试题 -
[52] Innodb分表太多或者表分区太多,会导致内 -
[52] 海量小文件存储 -
[52] 如何保证一个程序在单台服务器上只有唯一实例( -
[51] 全站换域名时利用nginx和javascri -
[50] 用 Jquery 模拟 select -
[49] CloudSMS:免费匿名的云短信 -
[48] jQuery性能优化指南
